Комплекс автоматической линии на базе прессов < Линии резки < ПАО “КУВАНДЫКСКИЙ ЗАВОД КУЗНЕЧНО-ПРЕССОВОГО ОБОРУДОВАНИЯ “ДОЛИНА” < Интернет-магазин станков stanok-rf.ru
Комплекс автоматической линии на базе прессов

Комплекс автоматической линии на базе прессов


Комплекс автоматической линии на базе прессов

Описание:
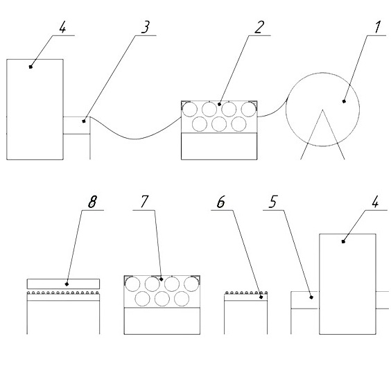
Автоматический размотчик рулонов предназначен для размотки рулонного материала в составе автоматических линий для штамповки и продольно-поперечной резки рулонного материала. Разматывающее устройство снабжено электроприводом с частотным преобразователем, который контролирует и меняет обороты вращения рулона.
Валковая подача предназначена для подачи в зону штамповки рулонного или ленточного материала (полосы).Подающие валки вращаются при помощи серводвигателя через редуктор. Прижим валков пневматический. Валковая подача устанавливается непосредственно вблизи с прессом, высота линии подачи регулируемая по высоте. Контроль за точностью шага осуществляется энкодером.
Смазка ленты перед штампом Устройство мелкодисперсной смазки перед штамповкой Предназначено для нанесения смазывающей жидкости на лист перед штампом разбрызгиванием «тумана» (мелкодисперсная смазка). Что способствует малому расходу смазывающей жидкости и полному покрытию листа тонкой пленкой смазки и отсутствию луж, чем при классической смазке листа разбрызгиванием.
Кривошипный пресс модели КД2132 используется для штамповки разнообразных деталей. Это установка, имеющая механизм кривошипно-ползунного вида. Движение вращательного привода преобразуется в поступательное движение ползуна.
Обрезка ленты после штампа на детали представляет собой ножницы гильотинные, станину на которой размещены все основные узлы и агрегаты. Ножницы необходимы для порезки полосы на мерные длины. Резка осуществляется при помощи верхнего подвижного ножа, расположенным под углом к нижнему неподвижному ножу. Верхний нож закреплен на ножевой балке, которая двигается по направляющим, совершая возвратно-поступательное движение.

Характеристики:
Страна производства Россия
Реальный внешний вид может немного отличаться от изображенного на страницах сайта. Возможны изменения технических характеристик товара в зависимости от модификации. Информация на данном сайте носит исключительно информационный характер и ни при каких условиях не является публичной офертой, определяемой положениями Статьи 437 ГК РФ.

Комплектация:
Двустороннее поворотное разматывающее устройство для рулонного материала, имеет собственный электропривод с частотным преобразователем, для контроля и регулировки скорости разматывания материала.
Правильное устройство для рулонного материала. Служит для выравнивания материала перед подачей на пресс посредством разнонаправленных гибов. Снабжён собственным электорприводом, скорость синхронизирована со скоростью линии.
Валковая подача. Предназначена для подачи заготовки в рабочую зону, с заданной скоростью и шагом.
Пресс кривошипный модели КД 2132 (усилием 160 тонн)
Валковая подача.
Рольганг приводной. Предназначен для подачи листовых заготовок в рабочую зону пресса, скорость синхронизирована со скоростью линии.
Правильное устройство для листового материала, аналогично правильному устройству для рулонного материала.
Механизм автоматической подачи листового материала. Предназначен для автоматизированной подачи листового материала из пакета в правильное устройство и далее по линии.

Гарантия производителя 1 год

Артикул: АЛ1

Цена: По запросу

В нашем магазине представлен большой ассортимент деревообрабатывающих станков и станков по металлу (токарных, фрезерных, сверлильных, листогибов и т.д.).

На нашем сайте Вы найдете более 500 наименований различных станков, при этом большинство популярных моделей имеются в наличии и готовы к отправке сразу после оплаты.

Мы предлагаем лучшие модели станков от российских и зарубежных производителей.

В настоящее время проблема импортозамещения в нашей стране стоит как нельзя остро, а ее нельзя решить без активного собственного производства.

Сегодня, когда многие зарубежные компании ушли с российского рынка, как нельзя актуальной представляется возможность начать собственное производство. Наша компания с удовольствием поможет Вам приобрести необходимые для станки для любого производства во всех отраслях.

Работая с поставщиками напрямую, мы имеем возможность предложить наши изделия по самой низкой цене – по цене производителя.

Наш сайт работает и принимает заказы 24 часа в сутки и 365 дней в году. Наш магазин работает для Вас каждый день с 10.00 до 21.00 без перерыва на обед.

Все станки поставляются в заводской упаковке и комплектации

Постоянным покупателям предоставляются дополнительные скидки.