Пресс гидравлический вертикальный П6324Б (П6324) усилием 25 тонн < Гидравлические вертикальные прессы < ПАО “КУВАНДЫКСКИЙ ЗАВОД КУЗНЕЧНО-ПРЕССОВОГО ОБОРУДОВАНИЯ “ДОЛИНА” < Интернет-магазин станков stanok-rf.ru
Пресс гидравлический вертикальный П6324Б (П6324) усилием 25 тонн

Пресс гидравлический вертикальный П6324Б (П6324) усилием 25 тонн


Пресс гидравлический вертикальный П6324Б (П6324) усилием 25 тонн

Описание:
Пресс гидравлический одностоечный с приводом усилием 25 тс (250 кН) модели П6324Б относится к универсальному виду оборудования для выполнения различных операций обработки давлением:
прошивки;
калибровки;
правки;
листовой штамповки без глубокой вытяжки;
запрессовки
выпрессовки.
Пресс гидравлический П6324Б (пресс гидравлический П6324), можно легко встраивать в автоматические линии и комплексы. По желанию заказчика оснастим оборудование правильным столом и оснасткой.

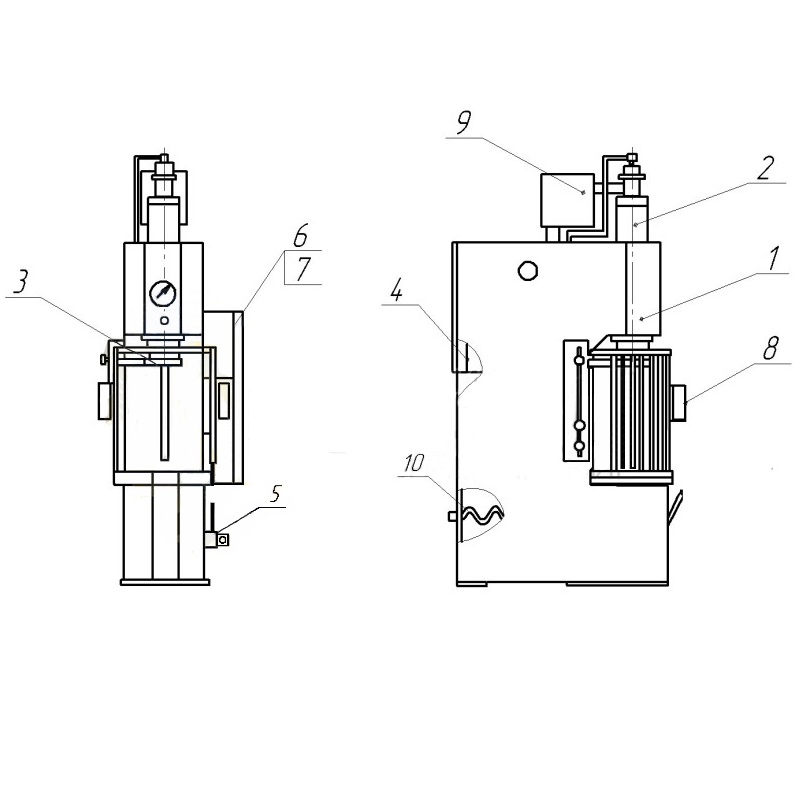
Станина сварной конструкции имеет верхнюю и нижнюю консоли и вертикальную стойку, в средней части проёма которой имеется ёмкость под масло. На верху ёмкости устанавливается гидроагрегат. В верхней консоли закреплён при помощи разрезного кольца и гайки рабочий цилиндр 2. На верхнем торце цилиндра установлен клапан наполнения, с которым соединён бак наполнения 9. К нижнему торцу штока цилиндра болтами прикреплён ползун 3, имеющий направляющую планку на станине, предотвращающую поворот ползуна со штоком вокруг вертикальной оси. Слева на ползуне закреплён кронштейн с флажком для взаимодействия с конечными выключателями, установленными на левой стороне стойки пресса. В передней части верхней консоли закреплены контактный (ЭКМ) и обычный манометры. С правой стороны на стойке пресса закреплён электрошкаф 6 с панелью управления, индикацией и контроллером. Внутри шкафа, на гидроагрегате и по прессу размещено электрооборудование 7. Пульт двухкнопочного управления 5 выполнен выносным для удобства управления. Справа на нижней консоли установлена рукоятка ручного управления. Внутри станины размещены гидроагрегат и трубопроводы, соединяющие гидроагрегат с цилиндром, баком наполнения и манометрами. В нижней части ёмкости под масло установлен змеевик-маслоохладитель. На прессе имеются узлы фотозащиты 8.

Режимы работы пресса
«Полуавтоматический режим» В исходном положении ползун пресса находится в верхнем положении. Цикл пресса осуществляется нажатием кнопок «Ход» двурукого управления. Ход ползуна ограничен положением конечного выключателя, далее ползун совершает возвратный ход, до начального положения, цикл считается законченным.
«Наладочный режим» управление движением ползуна пресса осуществляется рукояткой движениями вверх и вниз. Ползун движется вниз на холостом ходу до конечного выключателя, далее на рабочем ходе при достижения нижней точки или до срабатывания необходимого давления ползун останавливается. Ползун движется вверх на холостом ходе.
Скорость ползуна пресса на холостом и рабочем ходе регулируется величиной хода рукоятки, при установке рычага в нейтральное положение движение ползуна прекращается.

Характеристики:
Страна производства Россия
Номинальное усилие пресса, кН 250
Ход ползуна, мм 500
Максимальное расстояние между столом и ползуном, мм 710
Размеры стола, мм 630×480
Скорость ползуна, не менее, мм/с
при холостом ходе 180
при рабочем ходе 10
при возвратном ходе 200
Тип системы управления П6324Б — электроуправляемый,
П6324 — механический
Мощность привода, кВт 7,5
Габаритные размеры (без правильного стола), мм 900×1530×2730
Масса пресса, кг 1980
Реальный внешний вид может немного отличаться от изображенного на страницах сайта. Возможны изменения технических характеристик товара в зависимости от модификации. Информация на данном сайте носит исключительно информационный характер и ни при каких условиях не является публичной офертой, определяемой положениями Статьи 437 ГК РФ.

Базовая комплектация:
Пресс в сборе
Гидроагрегат (установлен на прессе)
Электрический шкаф управления
Пульт управления
Технический паспорт
Руководство по эксплуатации
Сертификат соответствия

Дополнительное оборудование:
Стол правильный
Приспособление для правки
Боек

Гарантия производителя 1 год

Артикул: П6324Б

Цена: По запросу

В нашем магазине представлен большой ассортимент деревообрабатывающих станков и станков по металлу (токарных, фрезерных, сверлильных, листогибов и т.д.).

На нашем сайте Вы найдете более 500 наименований различных станков, при этом большинство популярных моделей имеются в наличии и готовы к отправке сразу после оплаты.

Мы предлагаем лучшие модели станков от российских и зарубежных производителей.

В настоящее время проблема импортозамещения в нашей стране стоит как нельзя остро, а ее нельзя решить без активного собственного производства.

Сегодня, когда многие зарубежные компании ушли с российского рынка, как нельзя актуальной представляется возможность начать собственное производство. Наша компания с удовольствием поможет Вам приобрести необходимые для станки для любого производства во всех отраслях.

Работая с поставщиками напрямую, мы имеем возможность предложить наши изделия по самой низкой цене – по цене производителя.

Наш сайт работает и принимает заказы 24 часа в сутки и 365 дней в году. Наш магазин работает для Вас каждый день с 10.00 до 21.00 без перерыва на обед.

Все станки поставляются в заводской упаковке и комплектации

Постоянным покупателям предоставляются дополнительные скидки.


Другие предметы этой серии

Пресс гидравлический вертикальный П6320Б (П6320) усилием 10 тонн

Пресс гидравлический вертикальный П6320Б (П6320) усилием 10 тонн

Пресс гидравлический вертикальный П6320Б (П6320) усилием 10 тонн

Описание:
Пресс гидравлический одностоечный с индивидуальным приводом усилием 10тс (100кН) модели …

П6320Б

По запросу

Подробнее

Пресс гидравлический вертикальный П6326Б (П6326) усилием 40 тонн

Пресс гидравлический вертикальный П6326Б (П6326) усилием 40 тонн

Пресс гидравлический вертикальный П6326Б (П6326) усилием 40 тонн

Описание:
Пресс гидравлический модели П6326 усилием 400кН (40 тонн) предназначен для …

П6326Б

По запросу

Подробнее

Пресс гидравлический вертикальный П6328Б (П6328) усилием 63 тонны

Пресс гидравлический вертикальный П6328Б (П6328) усилием 63 тонны

Пресс гидравлический вертикальный П6328Б (П6328) усилием 63 тонны

Описание:
Пресс гидравлический модели П6328 усилием 630кН (63 тонны) предназначен для …

П6328Б

По запросу

Подробнее

Пресс гидравлический вертикальный П6330Б (П6330) (усилием 100т)

Пресс гидравлический вертикальный П6330Б (П6330) (усилием 100т)

Пресс гидравлический вертикальный П6330Б (П6330) (усилием 100т)

Описание:
Устройство пресса типа П6330 является одностоечным, станина которого создана в С-образном …

П6330Б

8715000.0 ₽

Подробнее